
参考标准:
注: 关于产品购买、技术维护等服务,欢迎致电! 联系我们
一 概 述
DF6000型异频全自动介质损耗测试仪 是发电厂、变电站等现场或实验室测试各种高压电力设备介损正切值及电容量的高精度测试仪器。仪器为一体化结构,内置介损测试电桥,可变频调压电源,升压变压器和SF6 高稳定度标准电容器。测试高压源由仪器内部的逆变器产生,经变压器升压后用于被试品测试。频率可变为45Hz或55Hz,55Hz或65Hz,采用数字陷波技术,避开了工频电场对测试的干扰,从根本上解决了强电场干扰下准确测量的难题。同时适用于全部停电后用发电机供电检测的场合。该仪器配以绝缘油杯可测试绝缘油介质损耗。
仪器主要具有如下特点:
l 超大液晶中文显示
仪器配备了大屏幕(105mm×65mm)中文菜单界面,屏显分为左右两部分,左边为功能菜单区,右边为相关状态信息提示,每一步都非常清楚,操作人员不需要专业培训就能使用。一次操作,微机自动完成全过程的测量,是目前非常理想的介损测量设备。
l 海量存储数据
仪器内部配备有日历芯片和大容量存储器,能将检测结果按时间顺序保存,随时可以查看历史记录,并可以打印输出;
l 多种测试模式
仪器能够分别使用正接法、反接法、CVT自激法等多种方式测试。
l 高速采样信号
仪器内部的逆变器和采样电路全部由数字化控制,输出电压连续可调。
l 多重保护安全可靠
仪器具备输入电压波动、输出短路、过压、过流、温度等多重保护措施,保证了仪器安全、可靠。仪器还具备接地检测功能,确保不接地设备不允许升压。
二 工作原理
在交流电压作用下,电介质要消耗部分电能,这部分电能将转变为热能产生损耗。这种能量损耗叫做电介质的损耗。当电介质上施加交流电压时,电介质中的电压和电流间成在相角差ψ,ψ的余角δ称为介质损耗角,δ的正切tgδ称为介质损耗角正切。tgδ值是用来衡量电介质损耗的参数。仪器测量线路包括一标准回路(Cn)和一被试回路(Cx),如图2—1所示。标准回路由内置高稳定度标准电容器与测量线路组成,被试回路由被试品和测量线路组成。测量线路由取样电阻与前置放大器和A/D转换器组成。通过测量电路分别测得标准回路电流与被试回路电流幅值及其相位差,再由数字信号处理器运用数字化实时采集方法,通过矢量运算得出试品的电容值和介质损耗正切值。
仪器内部已经采用了抗干扰措施,保证在外电场干扰下准确测量。
图 2—1 测量原理图
三 主要技术参数
1 | 使用条件 | -15℃∽40℃ | RH<80% | ||
2 | 抗干扰原理 | 变频法 | |||
3 | 电 源 | AC 220V±10% | 允许发电机 | ||
4 | 高压输出 | 0、5KV∽10KV | 每隔0、1kV | ||
精 度 | 2% | ||||
最大电流 | 200mA | ||||
容 量 | 1500VA | ||||
5 | 自激电源 | AC 0V∽50V/15A | 45HZ/55HZ | ||
6 | 分 辨 率 | tgδ: 0、001% | Cx: 0、01pF | ||
7 | 精 度 | △tgδ:±(读数*1、0%+0、040%) | |||
△C x :±(读数*1、0%+1、00PF) | |||||
8 | 测量范围 | tgδ | 无限制 | ||
C x | 15pF < Cx < 300nF | ||||
10KV | Cx < 40 nF | ||||
5KV | Cx < 150 nF | ||||
1KV | Cx < 300 nF | ||||
CVT测试 | Cx < 300 nF | ||||
10 | 外型尺寸 | 430(L)×330(W)×330(H) | |||
11 | 存储器大小 | 80 组 | |||
12 | 重 量 | 28 Kg | |||
四 面板说明
图 4—1
1、按键
2、液晶显示器
3、da:自激输出1
dn:自激输出2
4、接地接线柱
5、Cx:试品输入插座
6、打印机
7、高压指示灯
8、总电源开关
9、电源输入插座
10、高压输出HV插座
图 4—2
4.1、按键
安装位置:如图4—1—1。
功 能:“背光”键开启或关闭液晶屏背光灯;
“↑”和“↓”键移动光标或修改数据;
“复位”键将仪器内部主CPU复位;
“取消”键返回上一级菜单;
“确认”选定光标指定菜单。
4.2、液晶显示屏(液晶屏应避免长时间阳光暴晒,避免重物挤压和利器划伤)
安装位置:如图4—1—2。
功 能:大屏幕(105mm×65mm)中文菜显示,每一步操作清晰明了。
4.3、 ① da
安装位置:如图4—1—③
功 能:自激输出,仪器内部为自激输出变压器的一端(变压器另一端通过dn接地),自激法测试CVT介损时连接到CVT的自激线圈(da)上,da,dn为CVT提供测量所需高压电源。
② dn
功 能:自激输出端,仪器内部为自激输出变压器的一端,da,dn为CVT提供测量所需高压电源。
注 意: 因低压输出电流大,应采用仪器专用连接线连接到CVT二次绕组并使其接触良好,选择正、反接法测量时,此输出关闭。
4.4、接地接线柱
安装位置:如图4—1—④。
功 能:仪器保护接地。
注 意:仪器内部自带接地保护装置,测试中应当保证可靠接入地网。否则仪器将自动产生保护不开始升压测试。
4.5、试品低压输入Cx插座
安装位置:如图4—1—⑤。
功 能:正接法时输入被试品测试信号。
接线方法:插座中心连接黑色信号线芯线;金属外壳接黑色信号线屏蔽层;正接法时芯线接被试品低压信号端,若被试品低压信号端有屏蔽极(如低压端的屏蔽环),则可将屏蔽层接于屏蔽极,无屏蔽极时屏蔽层悬空。
注 意: 在启动测试的过程中严禁拔下插头,以防被试品电流经人体入地。
用标准介损器或标准电容器检测正接法精度时,应使用全屏蔽插头连接介损器或标准电容器,否则暴露的芯线可能受到干扰引起误差。
测试过程中应保证插座中心测试芯线与被试品低压端零电阻连接,否则可能引起测量结果的数据波动。
强干扰下拆除接线时,应在保持电缆接地状态下断开连接,以防感应电击。
4.6、打印机
安装位置:如图4—1—⑥。
功 能:显示可打印数据时,将光标移动至“打印”项按确认键打印。
注 意:打印机为全自动热敏打印机,打印纸宽55mm。更换打印纸时请使用热
敏打印机专用打印纸,首先按下打印机下部凸起的按钮,打印机盖板将自动弹起,然后按顺序将打印纸放入打印纸仓内并留少许部分在外面,最后合上打印机盖板。
4.7、高压指示灯
安装位置:如图4—1—⑦
功 能:仪器测量过程中配合仪器内部喇叭发出一定频率的闪灯和提示音。
4.8、总电源开关
安装位置:如图4—1—8。
功 能:打开此关,仪器上电进入工作状态。关闭此开关,也同时关闭仪器内部
所有电源系统,紧急情况应立即关闭此开关并拔掉输入电源线。
4.9、电源输入插座
安装位置:如图4—1—⑨。
功 能:提供仪器工作电源。
接线方法:使用标准插座与市电或发电机相连接。
注 意:电源插座内部带有保险管保护装置,不正常情况下可烧毁保险管保使仪器断电,保护仪器内部。
4.10、高压输出HV插座
安装位置:如图4—2—⑩,外设保护门。
功 能:仪器变频高压输出;检测反接线试品电流;内部标准电容器的高压端。
接线方法:插座中心连接红色高压线芯线;金属外壳连接红色高压线屏 蔽层;正接法时芯线和屏蔽层都可以作加压线对被试品高压端加压;反接法时只能用芯线对被试品高压端加压,若试品高压端有屏蔽极(如高压端的屏蔽环),则可将屏蔽层接于屏蔽极,无屏蔽极时屏蔽层悬空。
注 意:在启动测试的过程中此插座带有高压有触电危险,绝对禁止触碰高压插座及与之相连的相关设备。
用标准介损器或标准电容器检测正接法精度时,应使用全屏蔽插头连接介损器或标准电容器,否则暴露的芯线可能受到干扰引起误差。
测试过程中应保证插座中心红色高压线芯线与被试品高 压端零电阻连接,否则可能引起测量结果的数据波动。
五 使用说明
5.1、主菜单
打开电源开关,首先显示
欢迎界面,然后进入主菜单(
如图5—1);选择相应的测试选项
进行测量。
图 5—1
5.2、一般测试

图 5—2 图 5—3
首先根据相应的接线方法接好仪器
外部与被试品之间的连线,然后将光标
移动至主菜单的第一项“一般测试”上(
如图5—1), 按确认键进入下一级设置菜
单(如图5—2)。然后选择参数设置,进入
详细参数设置菜单后,再按确认键移动光 图 5—4
标至每一项,按上、下键修改相应的参数设置。最后,所有相关参数设置好了后按确认键将光标移动至最后一项接着再按一下确认键离开设置菜单,进入测试菜单(如图5—3)。
测试过程中电压值一项是根据先前所选择的测试电压平滑上升至设置值后保持不变,然后自动开始测试。开始测试后根据先前所选择的测试频率自动变频到各相应的频率进行测试,测试完成后自动显示测试结果(如图5—4);移动光标可以对结果数据进行保存或者打印等操作。
注意:每一种测试的具体参数设置和接线方法请查看第六章“参考接线” 。

5.3、CVT测试
图 5—5 图 5—6
首先根据相应的接线提示接好仪器外部的连线,然后打开仪器将光标移动至主菜单的第二项“CVT测试”上(如图5—5),按确认键进入下一级设置菜单(如图5—6)。进入具体设置菜单(如图5—6)后,接着先将光标移动至此菜单的“电源设置”按确认键进入,然后再按确认键移动光标至“电压设置”或“频率设置”(如图5—7)上,按上、下键调整到所需的参数,调整完成后按确认键返回具体设置菜单(如图5—6)。设置好电压和频率后按上、下键移动光标将光标停留在相应的“CVT测试”上,按确认键离开此菜单,进入测试菜单(如图5—8)。

图 5—7 图 5—8
测试过程中电压值一项是根据先前所选择的测试电压平滑至设置值后保持不变,然后自动开始测试。开始测试后根据先前所选择的干扰频率自动变频到相应的频率进行测试,测试完成后自动显示测试结果。
注意:每一种测试的具体参数设置和接线方法请查看第六章“参考接线” 。

5.4、数据查询
图 5—12 图 5—13
打开仪器后按上、下键将光标移动至主菜单的第三项“数据查寻”(如图5—12)上,按确认键进入。进入数据存放菜单(如图5—13)后,按上、下键移动光标至想要查看的数据项目上,(仪器所保存的数据均是按照测量时间的先后所排列的,第1个数据即最新数据,第80个数据即最老数据。)再按确认键读取相应的数据,在此菜单里面可以按上,下键移动光标至屏幕下方相应的“打印” 、“删除”上,按确认键可对数据进行打印或删除等操作。

5.5、时间设置
图 5—14 图 5—15
打开仪器后按上、下键将光标移动至主菜单的第五项“时间设置”(如图5—14)上,按确认键进入。进入数时间菜单(如图5—15)后,按确认键键移动光标至想要修改的数据项目上,然后再按上、下键调整相应的“时” 、“分” 、“秒” ,最后将光标移动至最后一项后再按一次确认键保存修改设置并退出。
※ 注意:
所有步骤在设置不当或想再次改变的情况下,均可按取消键返回上一步骤,如果按取消键不能实现返回。则可以直接按复位键退到主菜单重新开始设置。
六 参考接线(具体请参阅相关规程)
㈠正接法 :
1、内电压—正接法(常正接线)
2、外电压—正接法

㈡反接法:
1、内电压—反接法(常正接线)
2、外电压—反接法


㈢CVT测试
㈣电压互感器
1、一次侧对二次侧
A、接线见图6-1
B、电压为2KV
C、正接法 图6-1 PT接法
2、一次侧对二次侧及地
A、接线见图6-2
B、电压为2KV
C、反接法 图6-2 PT接法
3、二次侧对一侧次及地
A、接线见图6-3
B、电压为2KV
C、反接法 图6-3 PT接法
4、末端屏蔽法
A、接线见图6-4
B、电压为10KV
C、正接法 图6-4 PT末屏法
㈤电流互感器
1、一次侧对二次侧
A、接线见图6-5
B、电压为10KV
C、正接法 图6-5 CT接法
2、一次侧对末屏 (常用)
A、接线参考图6-6
B、电压为10KV
C、反接法
3、一次侧对二次侧及地
A、接线见图6-6 图6-6 CT接法
B、电压为10KV
C、反接法
㈥高压穿墙套管
1、芯棒对末屏 (常用)
A、解开末屏接地
B、接线见图6-7
C、电压为10KV
D、正接法 图6-7 套管接法
2、芯棒对末屏及地
A、接线见图6-8
B、电压为10KV
C、反接法 图6-8 套管接法
㈦电力变压器
1、一次绕组对二次绕组
A、接线见图6-9
B、电压为10KV
C、正接法
图6-9 变压器接法
2、一次绕组对二次绕组及地
A、接线见图6-10
B、电压为10KV
C、反接法
图6-10 变压器接法
3、二次绕组对一次绕组及地
A、接线见图6-11
B、电压为10KV
C、反接法
图6-11 变压器接法
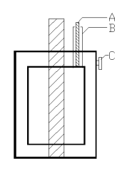
㈧绝缘油介损
1、此时杯体为高压,注意安全;
2、正接法
3、HV用红色高压线
4、Cx用黑色测试线,屏蔽层接油杯地
5、电压2kV
6、(C高压)接HV
7、(A测试)接Cx
8、(B屏蔽)接地
㈨标准电容器,标准介损器
·正接法
1、HV用红色高压线连试品高压
2、Cx用黑色测试线连试品低压
3、黑色测试线的屏蔽层连试品E
·反接法
1、试品高压接地
2、 HV用红色高压线连试品低压
3、红色高压线的屏蔽层连试品E
4、Cx悬空
5、桶体已为高压注意绝缘
注 意:
· 所有连线虚线为电缆屏蔽层,实线为电缆芯线。
· 请使用出厂时配套的测试电缆。仪器测量电缆通用,但本仪器属于高精密测量仪器,测量时请尽量使用仪器出厂时附带的测试电缆,否则的话可能因电缆自身的属性差异而影响测量结果的精度。
· 具体每个接线插座和端子使用何种电缆连接请参考 “面板说明”。
七 使用注意事项
1.本仪器只能在停电设备上使用,其它设备可不断电;
2.仪器自带有升压装置,应注意高压引线的绝缘及人员安全;
3.仪器应可靠接地;
4.使用本仪器检测设备前,应先对设备进行绝缘检测;
5.确定设备的耐压等级,正确选择仪器升压档位,以防击穿设备,损坏仪器;
6.仪器所配专用高压电缆出厂时已检测合格,但测量时仍需远离人体;
7.输入电压为AC220V±10%,超出范围都有可能影响测试精度;最大输入电压为AC264V,超过此值会造成永久性损坏,对此厂家不予保修;
8.打印机有可能在搬运过程中因卷纸松动而出现打印卡纸,此时只需将卷纸取出,绕紧后重新装入;
9.仪器应注意防潮,防剧烈震动;
10.发电机供电时应将输出零线接地,否则会提示接地有误。
八 装箱清单
1. 仪器主机 1台
2. 附件箱 1个
3. 红色高压测试线 1根
4. 黑色低压测试线 1根
5. CVT自激电源线(带附套) 1根
6. AC220V电源线 1根
7. 保险管、打印纸备用 备用
8. 产品说明书 1份
9. 产品合格证/保修卡 1份
注 意:具体随机配件视出货型号的差异可能有所不同。
九、售后服务
本公司产品保修一年,终身维修,一年内产品质量出现问题,请及时与我公司联系,公司负责免费维修,超过一年,按成本收取少量费用。